技术方案   Support
联系我们   Contact
搜索   Search
你的位置:首页 > 技术方案
技术方案

LH32M0SXX——压力变送器,测温及称重的单片解决方案

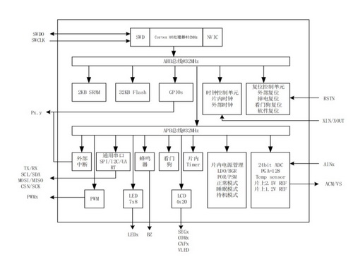
Mars MCU的结构框图


基于Mars的压力变送器方案
     压力传感器是工业实践、仪器仪表控制中较为常用的一种传感器之一,并广泛应用于各种工业自控环境,在全球市场中,压力传感器在传感器整体市场中的份额占比在21%左右,仅次于流量传感器,是第二大传感器产品类型。涉及水利水电、铁路交通、生产自控、航空航天、军工、石化、油井、电力、船舶、机床、管道等众多行业。


传统的采集压力传感器方案如下:


领慧立芯针对采集压力传感器推出了更加极简的方案如下:

LM32M0SXX最多可以采集8个压力传感信号.大大简化了客户的设计,提升了产品的性价比和稳定性。

 

基于Mars的红外测温方案

新冠疫情让所有关于医疗产品迅速变成炙手可热的产品。各式各样的非接触式红外人体测温仪也成了防控疫情的热销产品。

 


(红外测温设备)

    红外测温的基本原理是:运用全部超过绝对零度的物件都是会发送红外线的特点,选用红外线专用型摄像头感应器(红外线传感器sensor堆)搜集物件发送的红外线转换为薄弱的uV~mV级工作电压数据信号,再通过成倍的工作电压变大,进到高精密AD转换器,得到的数字信号通过单片机进行算法运算,得到具体的温度,根据人机界面工业触摸屏来显示或是语音输出或者通过数据信息传输到电脑上开展集中化运输。

 

传统方案工作原理框图如下:

 

领慧立芯LM32M0SXX红外人体测温方案帮助客户实现单芯片方案:

全集成SoC方案可为客户节约周边模拟器件,提升测量精度,使客户整体方案性价比大大提升。

 

基于Mars的电子衡器称重方案
高精度低成本是衡器的发展趋势,这就对高性能的信号处理提出了更高的要求。
衡器设计最佳选择的ADC体系结构是Sigma-Delta ADC,因为这种体系结构在低更新速率时具有低噪声和高线性度。
对于衡器系统来说,最重要的参数指标为内码,ADC动态输入范围,无噪声分辨率,转换速率,系统增益以及温漂等。


内码:
衡器的显示分辨率从低端的1:3000到高端的1:10000。例如,对于一个满量程5kg,输出显示10000码的衡器,它的分辨率为0.5g,这个在LCD上显示的称为外码。为了保证外码的精度,通常需要更高数量级的内码作为保证。例如,一些标准的衡器就需要内码为20倍的外码,因此,就需要1:200000的内码分辨率。


ADC动态范围:
下图为一个典型衡器的电路方案。当传感器满量程输出5mV,增益设为128时,ADC的输入范围为640mV,如果参考电压为2.5V,这就意味着只能用约2/5ADC的动态范围。如果对640mV需要达到1:200000内码的要求,那就需要ADC可以达到1:781250的分辨率,也就需要19-20位的精度。


典型衡器的电路方案:


温度漂移:
衡器一般最高工作温度范围位-10℃- 50℃,一个有1ppm/℃的增益误差的20位系统,在50℃范围内会产生50LSB的误差。因此,选择低增益温漂的ADC也是关键。


无噪声分辨率:
对于衡器应用来说,最重要的参数为峰峰值噪声或者位无噪声分辨率。有效值噪声乘以6.6倍位峰峰值噪声。


转换速率:
     转换速率也是一个关系系统精度的重要参数。例如,在转换速率为4Hz的ADC,峰峰值分辨率可以达到20.5位,提高速率到500Hz后,峰峰值分辨率就只能达到16位了。因此,在衡器应用中,就需要平衡转换速率和精度这两个矛盾的参数。
     苏州领慧立芯的LH32M0SXX系列微控制器采用高性能的32位 ARM® Cortex®-M0 内核,嵌入高达128Kbytes FLASH 和4Kbytes SRAM,集成高精度24位Sigma-Delta模数转换器(ADC)和前置低噪声可编程放大器(PGA)。是一款很适合衡器应用的MCU。


基于Mars的衡器电路方案:

LH32M0SXX ADC有效位数 (bits)

除此之外,"MARS" 还可以应用在环境测量、工业测量、消防安防、健康医疗等领域。

 

评估板

可提供48引脚和24引脚的评估板、配套电路图和参考代码,供客户快速开发。编译环境支持IAR和KEIL,所有例程IAR,KEIL配置默认是配置好的,客户只需要在相应的编译环境中直接打开即可进行编译和烧录。

 


基于不同封装的Mars 评估板
(左一:48脚封装,右一:24 脚封装)

 

Mars产品性能

内核
32 位 ARM® Cortex® -M0 CPU
最高 32MHz 工作频率

存储器
最大128 Kbytes FLASH 存储器
4 Kbytes SRAM

时钟模块
内部 32MHz RC 振荡器(HRC), 典型情况下精度±1%
内部 32KHz RC 振荡器(LRC), 典型情况下精度±10%
32.768KHz 低速晶体振荡器(LXT)

工作环境
VDD 电压: 2.2~3.6V
VDDA 电压: 2.2~3.6V  
温度范围: -40~105℃

电源管理
低功耗模式: 睡眠,深度睡眠和掉电模式
支持上电/掉电复位 (POR/PDR)
支持低电压检测 (LVD)

通用输入输出
35个 I/O 支持最高 32MHz 工作频率
支持中断向量

高精度模数转换器(Sigma-Delta ADC)
24 bit 高精度 Sigma-Delta ADC
最大支持8个外部输入通道
支持单端、差分输入
1/2/4/8/16/32/64/128 倍可选增益
积分非线性典型值(INL)5ppm
ADC通道温漂 2ppm/℃
输出速率 8Hz~8kHz 
—ENOB≥19.5bit@30sps,PGA=128
—ENOB≥15.4 bit@8ksps,PGA=128
硬件自动切换ADC通道,自动轮询读ADC数据,中断通知MCU或DMA
自带参考电压,输出1.8/2.35/2.45/2.8V 可选
集成温度传感器/电源电压检测通道

数字比较器
快速响应的数字比较器

LCD Driver
集成4 COM , 20 SEG 配置
集成charge pump

LED Driver
最大支持7 x 8 段

一路蜂鸣器
2个定时器
4路16bit 高级控制定时器(TIM1),带死区和互补控制的6通道PWM 输出
4路16bit 通用定时器(TIM2),带PWM 输出

可编程恒流源
8mA,10mA,12mA,20mA
支持PWM控制

OLED彩屏DMA加速模块
串行单线调试 (SWD)
封装
LQFP48(7mmx7mm)
SSOP24(8.2mmx5.3mm)
QFN48(6mmx6mm)